Сокол-Автомат

Сокол-Автомат
Тип дальномерный фотоаппарат
Производитель ЛОМО
Год выпуска 19661978
Объектив «Индустар-70» 2,8/50, несъёмный
Фотоматериал плёнка типа 135
Размер кадра 36 × 24 мм
Фокусировка дальномер с базой 70 мм[1]
Экспозиция пятипрограммный автомат
Затвор центральный, выдержки 1/30 — 1/500 с и «В»
Фотовспышка два кабельных синхроконтакта «Х» и «М»
Видоискатель оптический, с подсвеченной рамкой, совмещён с дальномером, с автоматической коррекцией паралакса
Размеры 140 × 90 × 85 мм[2]
Вес 945 г
Логотип Викисклада Медиафайлы на Викискладе

«Со́кол-Автома́т» или просто «Сокол» — малоформатный дальномерный фотоаппарат с программным автоматом экспозиции, выпускавшийся на Ленинградском оптико-механическом объединении с 1966 года[3]. В продажу также поступал под наименованием «ЛОМО-130А». На экспорт камера поставлялась под названием «Revue Auto RS» и «Aurora» («Aurora Automat»)[4]. Для своего времени фотоаппарат обладал передовой конструкцией, по некоторым параметрам превосходя даже японский прототип, за что был награждён Большой золотой медалью на Лейпцигской ярмарке[5].

Цена фотоаппарата в 1977 году составляла 145 рублей, почти в полтора раза дороже зеркального «Зенита-Е» со сменной оптикой. Для советских фотолюбителей «Сокол» оказался слишком дорог, а для профессиональной фотографии он был непригоден. В 1978 году выпуск фотоаппарата прекращён, всего известно о 226 600 сошедших с конвейера экземплярах, а также о 1000 камер под названием «ЛОМО-130А»[6][7]. В том же году начат выпуск новой модели «Сокол-2» с упрощённой зарядкой плёнки и «горячим башмаком»[8].

Особенности конструкции

Главным новшеством камеры стал фотоэлектрический экспонометр, основанный на CdS фоторезисторе вместо селенового фотоэлемента, применявшегося во всех советских экспонометрах тех лет. «Сокол» стал первым в СССР фотоаппаратом с таким типом светоприёмника[4][1]. Прототипом при разработке «Сокола» послужила японская камера Fujica 35 Auto-M с электронно-управляемым центральным затвором Copal Magic[9][10]. На тот момент автоматика этого фотоаппарата со «скользящей программой» считалась наиболее продвинутой[11]. После тщательного тестирования японских образцов, в 1965 году была куплена лицензия на конструкцию затвора, а затем налажен выпуск собственных устройств под названием «ФЗ-14»[5].

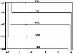
Диаграмма работы экспоавтоматики. Каждая линия соответствует одной из пяти программ

Благодаря возможностям нового затвора, «Сокол» оснащён пятипрограммным автоматом управления экспозицией[4]. Перед съёмкой одновременно с выбором одной из пяти выдержек затвора устанавливается одна из пяти программ автоматики[12]. При нормальных условиях автомат каждой из программ подбирает к установленной выдержке диафрагму в соответствии с экспозицией сцены, аналогично современному режиму приоритета выдержки. Однако в случае недостатка или избытка яркости снимаемого объекта автоматически выбирается более длинная или более короткая выдержка, чем установленная кольцом[13].

Сочетание выдержка — диафрагма, отрабатываемая затвором, отображается в поле зрения видоискателя механическим числовым индикатором, что практически не встречалось в аппаратуре такого класса[14]. Более того, такой индикации не было и в визире японского прототипа Fujica[15]. При невозможности выбора правильной экспозиции при измеренной яркости, спусковая кнопка блокируется, а в видоискателе на месте индикации экспопары появляется красный прямоугольник[16]. В этом случае автомат можно отключить и продолжить съёмку в ручном режиме при любом освещении[17]. Такая автоматика была революционной для тех лет и, в отличие от обычных «однопрограммных» автоматов (например, «Зоркий-10») позволяла контролировать оба экспозиционных параметра[18]. Кроме того, блокировка предотвращала частую ошибку при съёмке дальномерными фотоаппаратами с надетой крышкой объектива.

Фотоаппарат «Сокол» собран в массивном литом корпусе из алюминиевого сплава. На камерах разных выпусков на передней поверхности объектива количество стеклянных «глазков» для фоторезистора было разным: от одного до шести. Однако, только под одним из них находился светоприёмник, остальные были сделаны исключительно в декоративных целях[4]. Из-за особенностей конструкции при взводе затвора диафрагма полностью открывалась, а перед срабатыванием закрывалась до рабочего значения. Спуск затвора производился расположенной спереди прямоугольной клавишей, а для фотографического тросика на верхней крышке имелось отдельное резьбовое гнездо.

Телескопический видоискатель фотоаппарата совмещён с дальномером, номинальная база которого составляет 72 мм[3]. Подсвеченная рамка при фокусировке объектива смещается, компенсируя параллакс в горизонтальном направлении[2].

Технические характеристики

Фотоаппарат «Сокол» с открытой задней стенкой
  • Объектив «Индустар-70» 2,8/50, несъёмный. Светосильный четырёхлинзовый анастигмат с химическим просветлением, выпускавшийся вмонтированным в корпус затвора[19]. Резьба под светофильтр диаметром 58 мм.
  • Курковый взвод затвора сблокирован с перемоткой плёнки и счётчиком кадров.
При невзведённом затворе установка выдержки и диафрагмы запрещена (происходит блокировка). Несоблюдение этой инструкции приводит к поломке затвора. Имеется блокировка от неполного взвода затвора.
  • На нижней крышке фотоаппарата расположены кнопка обратной перемотки и счётчик кадров. При открывании задней стенки счётчик кадров автоматически сбрасывается.
  • Рукоятка обратной перемотки — рулетка, расположена на боковой стенке аппарата.
  • Имеется обойма для подключения вспышки, кабельные синхроконтакты «Х» и «М».
  • Источник питания автоматической экспонометрии — дисковый никель-кадмиевый аккумулятор Д-0,06 или ртутно-цинковый элемент РЦ-53 (современный аналог РХ-625), имеется контроль источника питания[16]. При отсутствии источника питания фотоаппарат полностью работоспособен в неавтоматическом режиме.
  • Установка светочувствительности фотоплёнки в диапазоне 16—250 ед. ГОСТ (ASA)[16]. На передней поверхности объектива размещен сернисто-кадмиевый (CdS) фоторезистор, который закрывается светофильтром вместе с объективом, автоматически внося поправку на его кратность.

См. также

Примечания

  1. 1 2 Наука и жизнь, 1968, с. 101.
  2. 1 2 Любительская фотокиноаппаратура, 1976, с. 27.
  3. 1 2 Alfred Klomp. Sokol-2 (англ.). Alfred's Camera Page. Дата обращения: 26 октября 2020. Архивировано 11 декабря 2010 года.
  4. 1 2 3 4 И. Арисов. Фотоаппарат Сокол-автомат обзор и инструкция. Фототехника СССР (6 марта 2020). Дата обращения: 15 сентября 2020. Архивировано 18 сентября 2020 года.
  5. 1 2 Наука и жизнь, 1968, с. 104.
  6. Краткая история советского фотоаппарата, 1993, с. 62.
  7. Jean Loup Princelle, 2004, p. 65.
  8. Г. Абрамов. «Сокол-2». Этапы развития отечественного фотоаппаратостроения. Дата обращения: 26 октября 2020. Архивировано 25 ноября 2020 года.
  9. Как на советском фотоаппарате «Сокол» появился японский затвор. «Fotorefit». Дата обращения: 15 сентября 2020. Архивировано 19 июня 2020 года.
  10. И. Арисов. Фотоаппарат Сокол-2 обзор и инструкция. Фототехника СССР (9 октября 2018). Дата обращения: 15 сентября 2020. Архивировано 16 сентября 2020 года.
  11. Советское фото, 1964, с. 36.
  12. Фотоаппараты, 1984, с. 85.
  13. Советское фото, 1966, с. 42.
  14. Фотокинотехника, 1981, с. 303.
  15. Георгий Николаенко. Семейство фотоаппаратов «Сокол». Eastrise Photography. Дата обращения: 17 октября 2020. Архивировано 17 октября 2020 года.
  16. 1 2 3 Фотокинотехника, 1981, с. 304.
  17. Г. Абрамов. «Сокол». этапы развития отечественного фотоаппаратостроения. Дата обращения: 26 октября 2020. Архивировано 1 октября 2020 года.
  18. Наука и жизнь, 1968, с. 100.
  19. Объективы. Каталог, 1971, с. 37.

Литература

  • А. Авдонин, В. Прийменко. Многопрограммный фотоаппарат «Сокол» // «Наука и жизнь» : журнал. — 1968. № 12. С. 100—104. ISSN 0028-1263.
  • В. Воробьёв. Экспозицию определяет автомат // «Советское фото» : журнал. — 1964. № 1. С. 32—36. ISSN 0371-4284.
  • Е. А. Иофис. Фотокинотехника / И. Ю. Шебалин. М.: Советская энциклопедия, 1981. — С. 303—304. — 447 с. 100 000 экз.
  • А. С. Кошелев. Любительская фотокиноаппаратура / И. Б. Кравцова. М.: «Искусство», 1976. — С. 168—169. — 192 с. 50 000 экз.
  • В. Прийменко, А. Авдонин. Новый фотоаппарат «Сокол» // «Советское фото» : журнал. — 1966. № 7. С. 42. ISSN 0371-4284.
  • Ю. Рышков. Краткая история советского фотоаппарата (1929—1991) / Б. Быков. — Р.: ПТК «Искусство», 1993. — С. 62. — 72 с. 5000 экз. — ISBN 5-88330-002-2.
  • М. Я. Шульман. Фотоаппараты / Т. Г. Филатова. Л.: «Машиностроение», 1984. — 142 с. 100 000 экз.
  • Объективы. Каталог. Часть 2 / А. Ф. Яковлев. Л.: ГОИ, 1971. — 414 с. 250 экз.
  • Jean Loup Princelle. GOI-GOZ-VOOMP-GOMZ-LOMO // Made in USSR. The authentic guide to Russian an Soviet cameras (англ.) / пер. на англ. Charles Barringer. — 2nd Edition. — Onderville sur Essonne: Le Reve Edition, 2004. — P. 31-79. — 293 p. — ISBN 2-9522521-1-4.

Ссылки