Вибровозбудитель

Вибровозбуди́тель — механическое устройство, предназначенное для генерирования вибрации в строительно-дорожных машинах.

По принципу работы вибровозбудители делятся на следующие виды:

  • центробежные — вибрация генерируется при вращении одного или нескольких дебалансов;
  • планетарные — вибрация генерируется при движении бегунка в планетарном механизме; такие вибровозбудители используются для создания вибрации высокой частоты (до 20000 колебаний в минуту);
  • электромагнитные вибровозбудители получили наибольшее распространение; в таких устройствах возбуждающей вибрацию силой является переменная сила притяжения электромагнитов.
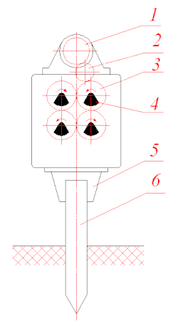
Вибропогружатель с центробежным вибровозбудителем: 1 — электродвигатель; 2 — промежуточная шестерня; 3 — синхронизирующие шестерни; 4 — дебаланс; 5 — наголовник; 6 — свая

Вибровозбудители применяются в вибропогружателях, в машинах для уплотнения грунтов, в погружных вибраторах, в сортировочных машинах и др.

Литература

  • Добронравов С. С., Сергеев С. П. Строительные машины. Учебное пособие для вузов. — 2-е изд., перераб. и доп. — М.: Высш. школа, 1981. — 320 с.
  • Гальперин М. И., Домбровский Н. Г. Строительные машины: учебник для вузов. — 3-е изд., перераб. и доп. — М.: Высш. школа, 1980. — 344 с.